Einspritzpumpe Güldner GW 8 kein Druck?
Moderatoren: MotorenMatze, meisteradam, Junkersonkel
-
kollektorfeuer
- Beiträge: 7
- Registriert: Do 20. Mär 2014, 06:45
- Meine Motoren: Güldner GW 8 , Deutz MHA 711
- Wohnort: Bad Herrenalb
Einspritzpumpe Güldner GW 8 kein Druck?
Hallo Fan -gemeinde,
Habe ein Güldner GW 8 , leider bringt die Einspritzpumpe keinen Druck.
Die Pumpe wurde komplett zerlegt und gereinigt, trotzdem kein Erfolg obwohl eigentlich alle gut aussieht?
Hat schon jemand Erfahrung in Bezug dessen gemacht? Ein Betriebsanleitung des Motors suche ich auch noch, wenn möglich als PDF!
Freue mich schon auf Lösungsvorschläge!
Gruß
Ralf
Habe ein Güldner GW 8 , leider bringt die Einspritzpumpe keinen Druck.
Die Pumpe wurde komplett zerlegt und gereinigt, trotzdem kein Erfolg obwohl eigentlich alle gut aussieht?
Hat schon jemand Erfahrung in Bezug dessen gemacht? Ein Betriebsanleitung des Motors suche ich auch noch, wenn möglich als PDF!
Freue mich schon auf Lösungsvorschläge!
Gruß
Ralf
- motorenbau
- Spezialist für Motorenbau / Motorenhersteller
- Beiträge: 1826
- Registriert: Di 2. Feb 2010, 22:12
- Meine Motoren: Junkers 2HK65
Sendling SG
Sendling MS II
Sendling WS308 (2 Stück)
Sendling D12
Ebbs & Radinger G
Renauer RAX R
HMG Glühkopf 6PS
CL Conord C.11
Pineau&Ragot Type A
Deutz MAH711 Pumpenaggregat
Farymann ER
Holder Piccolo mit Sachs Stamo 6
Sachs Stamo 160
und diverse Landmaschinen und Traktoren - Wohnort: Wolfegg
- Kontaktdaten:
Re: Einspritzpumpe Güldner GW 8 kein Druck?
Hallo
Bedienungsanleitung und Ersatzteilliste für alle Güldner GW kann ich Dir als Nachdruck anbieten. Für dieses recht umfangreiche Büchlein (72 Seiten) hätte ich gerne €15,40, dafür hat es einen Karton-Einband, ist sauber geheftet und alle Fettfinger und schlimmsten Fliegenschisse wurden rausretuschiert. (s. Beispielseite)
Kann es sein, dass das Saugventil undicht ist? Oder klemmt das Nadelventil in offener Stellung? Beim Pumpen von Hand sollte das Nadelventil zu sein (volle Fördermenge), sonst haut bei zu langsamer Betätigung der ganze Druck durch das Nadelventil ab.
Gruß
Christian
PS: Als PDF gebe ich die Unterlagen nicht so gerne raus, sonst kann man Ausdrucke davon bald bei ebay teuer ersteigern. Das habe ich schon erlebt und das geht mir gegen den Strich. Oder wie Jerry Evans schreibt:
"Furthermore, if you do try to profit from them an ancient Egyptian curse will instantly affect you and twenty thousand fleas will descend upon your crotch and your fingernails will turn to fishhooks! You have been warned."
Zu Deutsch: Außerdem, wenn Sie versuchen, Profit aus meinen Unterlagen zu schlagen, wird Sie auf der Stelle ein alt-ägyptischer Fluch heimsuchen, indem er Ihnen zwanzigtausend Flöhe in den Hosenladen setzt und dann Ihre Fingernägel zu Angelhaken macht! Sie wurden also gewarnt."
Bedienungsanleitung und Ersatzteilliste für alle Güldner GW kann ich Dir als Nachdruck anbieten. Für dieses recht umfangreiche Büchlein (72 Seiten) hätte ich gerne €15,40, dafür hat es einen Karton-Einband, ist sauber geheftet und alle Fettfinger und schlimmsten Fliegenschisse wurden rausretuschiert. (s. Beispielseite)
Kann es sein, dass das Saugventil undicht ist? Oder klemmt das Nadelventil in offener Stellung? Beim Pumpen von Hand sollte das Nadelventil zu sein (volle Fördermenge), sonst haut bei zu langsamer Betätigung der ganze Druck durch das Nadelventil ab.
Gruß
Christian
PS: Als PDF gebe ich die Unterlagen nicht so gerne raus, sonst kann man Ausdrucke davon bald bei ebay teuer ersteigern. Das habe ich schon erlebt und das geht mir gegen den Strich. Oder wie Jerry Evans schreibt:
"Furthermore, if you do try to profit from them an ancient Egyptian curse will instantly affect you and twenty thousand fleas will descend upon your crotch and your fingernails will turn to fishhooks! You have been warned."
Zu Deutsch: Außerdem, wenn Sie versuchen, Profit aus meinen Unterlagen zu schlagen, wird Sie auf der Stelle ein alt-ägyptischer Fluch heimsuchen, indem er Ihnen zwanzigtausend Flöhe in den Hosenladen setzt und dann Ihre Fingernägel zu Angelhaken macht! Sie wurden also gewarnt."
http://www.motorenbau.eu
Mitglied M033 in der Interessengemeinschaft historische Motoren Deutschland (IG-HM)
Mitglied M033 in der Interessengemeinschaft historische Motoren Deutschland (IG-HM)
-
kollektorfeuer
- Beiträge: 7
- Registriert: Do 20. Mär 2014, 06:45
- Meine Motoren: Güldner GW 8 , Deutz MHA 711
- Wohnort: Bad Herrenalb
Re: Einspritzpumpe Güldner GW 8 kein Druck?
Hallo Christian,
danke für deine Nachricht!
Das Nadelventil hatte ich immer ganz geschlossen um die volle Fördermenge zu erreichen, das schließe ich zunächst mal als Fehlerquelle aus.
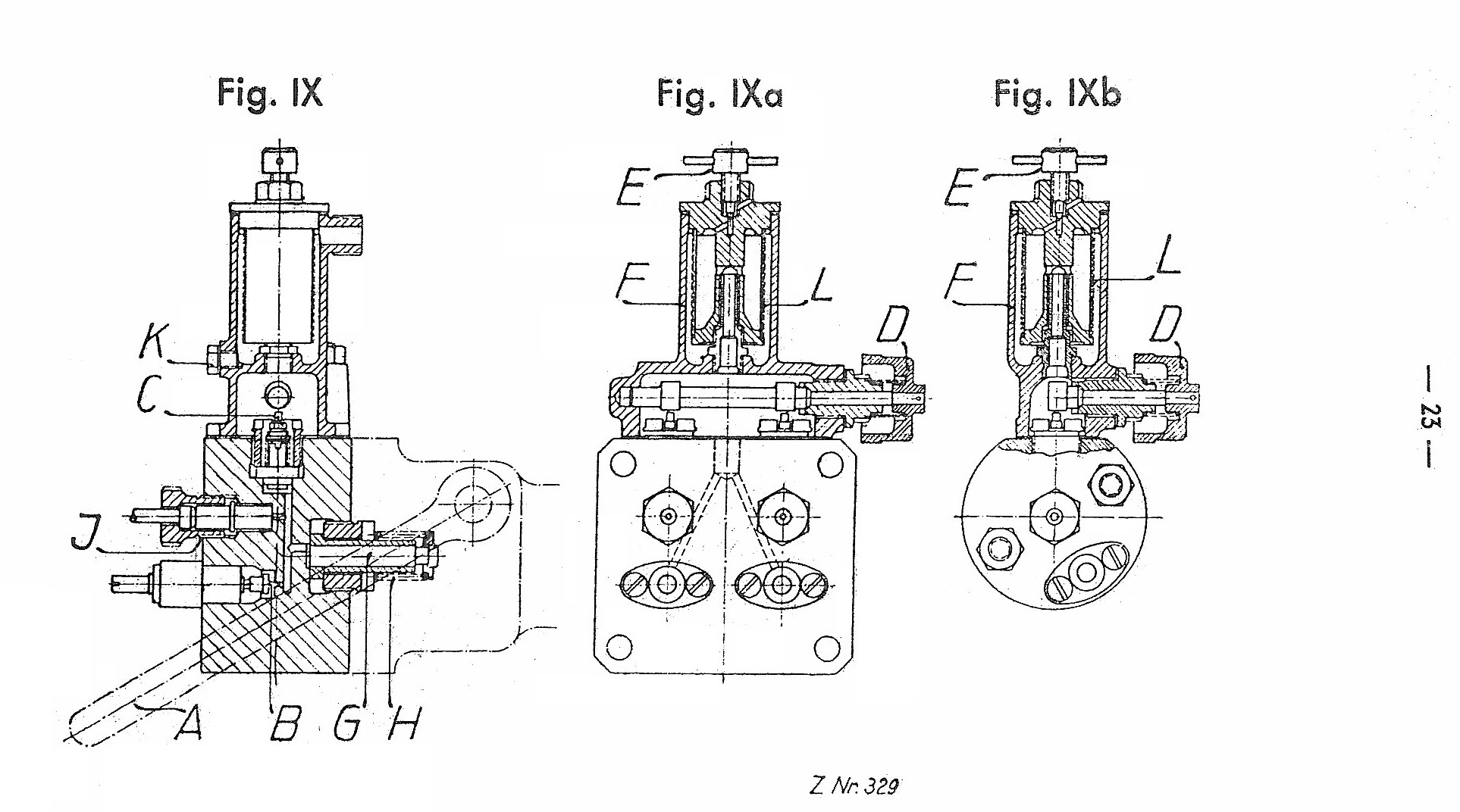
Die Vermutung mit dem Saugventil hatte ich auch schon, was mich allerdings nicht so ganz verstehe, ist die Funktion des Betriebsdrehschalters "D" !
(Siehe Bild Fig. IXb) "habe diesen Pumpentyp"
Dieser drückt bei Stellung (B) Betrieb mit dem Exzender ja ständig auf das Saugventil und hält es offen, oder habe ich da jetzt einen Denkfehler? Da kann ja verständlicherweise gar kein Druck aufgebaut werden, oder gibt,s da noch ein zweites Ventil?
Könntest du mir vorab eine Explosionszeichnung der Pumpe Typ: IXb zukommen ?
Übrigens, ein Intresse an besagter Betriebsanleitung besteht, wie kommen wir da zusammen?
Gruß
Ralf
danke für deine Nachricht!
Das Nadelventil hatte ich immer ganz geschlossen um die volle Fördermenge zu erreichen, das schließe ich zunächst mal als Fehlerquelle aus.
Die Vermutung mit dem Saugventil hatte ich auch schon, was mich allerdings nicht so ganz verstehe, ist die Funktion des Betriebsdrehschalters "D" !
(Siehe Bild Fig. IXb) "habe diesen Pumpentyp"
Dieser drückt bei Stellung (B) Betrieb mit dem Exzender ja ständig auf das Saugventil und hält es offen, oder habe ich da jetzt einen Denkfehler? Da kann ja verständlicherweise gar kein Druck aufgebaut werden, oder gibt,s da noch ein zweites Ventil?
Könntest du mir vorab eine Explosionszeichnung der Pumpe Typ: IXb zukommen ?
Übrigens, ein Intresse an besagter Betriebsanleitung besteht, wie kommen wir da zusammen?
Gruß
Ralf
- motorenbau
- Spezialist für Motorenbau / Motorenhersteller
- Beiträge: 1826
- Registriert: Di 2. Feb 2010, 22:12
- Meine Motoren: Junkers 2HK65
Sendling SG
Sendling MS II
Sendling WS308 (2 Stück)
Sendling D12
Ebbs & Radinger G
Renauer RAX R
HMG Glühkopf 6PS
CL Conord C.11
Pineau&Ragot Type A
Deutz MAH711 Pumpenaggregat
Farymann ER
Holder Piccolo mit Sachs Stamo 6
Sachs Stamo 160
und diverse Landmaschinen und Traktoren - Wohnort: Wolfegg
- Kontaktdaten:
Re: Einspritzpumpe Güldner GW 8 kein Druck?
Hallo
Ich habe Dir eine PN mit meiner Bankverbindung geschickt. Wenn ich das Geld (15,40 + 1,45 Porto = 16,85€) auf dem Konto habe, schicke ich Dir das Heftchen zu. Schreib mir dann bitte Deine Adresse zurück.
Leider sind die Teile der Pumpen nur einzeln dargestellt: Gruß
Christian
Ich habe Dir eine PN mit meiner Bankverbindung geschickt. Wenn ich das Geld (15,40 + 1,45 Porto = 16,85€) auf dem Konto habe, schicke ich Dir das Heftchen zu. Schreib mir dann bitte Deine Adresse zurück.
Leider sind die Teile der Pumpen nur einzeln dargestellt: Gruß
Christian
http://www.motorenbau.eu
Mitglied M033 in der Interessengemeinschaft historische Motoren Deutschland (IG-HM)
Mitglied M033 in der Interessengemeinschaft historische Motoren Deutschland (IG-HM)
-
kollektorfeuer
- Beiträge: 7
- Registriert: Do 20. Mär 2014, 06:45
- Meine Motoren: Güldner GW 8 , Deutz MHA 711
- Wohnort: Bad Herrenalb
Re: Einspritzpumpe Güldner GW 8 kein Druck?
Hallo Christian,
hast du mein PN mit der Adresse erhalten?
Gruß
Ralf
hast du mein PN mit der Adresse erhalten?
Gruß
Ralf
- motorenbau
- Spezialist für Motorenbau / Motorenhersteller
- Beiträge: 1826
- Registriert: Di 2. Feb 2010, 22:12
- Meine Motoren: Junkers 2HK65
Sendling SG
Sendling MS II
Sendling WS308 (2 Stück)
Sendling D12
Ebbs & Radinger G
Renauer RAX R
HMG Glühkopf 6PS
CL Conord C.11
Pineau&Ragot Type A
Deutz MAH711 Pumpenaggregat
Farymann ER
Holder Piccolo mit Sachs Stamo 6
Sachs Stamo 160
und diverse Landmaschinen und Traktoren - Wohnort: Wolfegg
- Kontaktdaten:
Re: Einspritzpumpe Güldner GW 8 kein Druck?
Hallo
Adresse habe ich erhalten, das Heft wird verschickt, sobald das Geld auf meinem Konto ist. Vor 5 Minuten war noch nicht da, das kann erfahrungsgemäß mehrere Tage dauern, gerade wenn ein Wochenende dazwischen liegt.
Gruß
Christian
Adresse habe ich erhalten, das Heft wird verschickt, sobald das Geld auf meinem Konto ist. Vor 5 Minuten war noch nicht da, das kann erfahrungsgemäß mehrere Tage dauern, gerade wenn ein Wochenende dazwischen liegt.
Gruß
Christian
http://www.motorenbau.eu
Mitglied M033 in der Interessengemeinschaft historische Motoren Deutschland (IG-HM)
Mitglied M033 in der Interessengemeinschaft historische Motoren Deutschland (IG-HM)
- Celler17
- Beiträge: 215
- Registriert: Do 14. Sep 2017, 21:16
- Meine Motoren: Ich besitze einen Deutz MA 608, einen Güldner GW 8 mit 8 PS und nur einem Schwungrad, einen Güldner GK mit 4 PS, einen Farymann LE, eine Quelle Pumpe mit einem Sachs Stamo 30, einen Deutz MAH 916, einen Deutz MAH 711, einen Farymann K, einen Farymann KS, einen zweiten GW 8, einen Güldner GL 8, einen dritten GW 8, einen Güldner GL 10, einen Güldner LKA, einen Güldner GW 10, eine Bachert TS 8/8 mit VW Typ 122 Industriemotor, und einen Güldner GW 14.
- Wohnort: 64832 Babenhausen
Re: Einspritzpumpe Güldner GW 8 kein Druck?
Hallo zusammen,
mich würde interessieren was jetzt letztendlich mit der Pumpe los war, da ich dasselbe Problem auch habe.
Mfg Marcel S.
mich würde interessieren was jetzt letztendlich mit der Pumpe los war, da ich dasselbe Problem auch habe.
Mfg Marcel S.
Hier geht es zu meinem YouTube Kanal:https://www.youtube.com/channel/UCpjycZ ... mi5WkVxB_w