Suffolk iron Foundry Lawnmower engine
Moderatoren: MotorenMatze, meisteradam, Junkersonkel
- deutz93
- Beiträge: 633
- Registriert: Fr 29. Mai 2015, 22:24
- Meine Motoren: changfa R 170 A
Bischoff Zwerg
Maier Mechanic Modell Gasmotor
Modell Stationärmotor Hans
2 Eigenbau Modelldampfmaschinen
Breuer 2 Zylinder Boxermotor
2 BUB Bootsmotoren
Jap js34 mit 12 Volt Generator
DKW EL 462
DKW EL 150
Tragbares Benzin-Elektro-Aggregat GAB 1,6
Farymann Typ LE
Ebbs und Radinger LBN 4
Leek Engine Gasmotor
Lister D
Sachs Stamo 4
Sachs D 400 L
Sachs D 500 W - Wohnort: Höhn
Suffolk iron Foundry Lawnmower engine
Hallo
Habe ich am Wochenende wieder zum Laufen gebracht.
http://www.youtube.com/watch?v=tPISpad4LWM Mfg.Max
Habe ich am Wochenende wieder zum Laufen gebracht.
http://www.youtube.com/watch?v=tPISpad4LWM Mfg.Max
Altes kaputtes zeug ist viel besser als neues Funktionierendes.
http://www.youtube.com/channel/UCFZ00fHTjuyckUimS_fRkug
http://www.youtube.com/channel/UCFZ00fHTjuyckUimS_fRkug
-
countryman
- Beiträge: 154
- Registriert: Mi 4. Sep 2019, 19:30
- Meine Motoren: Deutz MAH 711 Nr. 592270. Diverse Landmaschinen und Kleinmotoren vorhanden.
Re: Suffolk iron Foundry Lawnmower engine
Der läuft ja sehr schön ruhig und gleichmäßig.
Ist das eine Eigenkonstruktion dieser wenig bekannten Firma oder ein Lizenzbau?
Ist das eine Eigenkonstruktion dieser wenig bekannten Firma oder ein Lizenzbau?
- Motorenspezi
- Technische Hilfe
- Beiträge: 705
- Registriert: Mi 26. Jan 2011, 08:56
- Meine Motoren: Felix, Hein Randers/Dänemark, Hatz H 5, Aer Motor, Bohn & Kähler, Deutz CM, Hornsby 1906, Junkers, diverse Boxermotoren und noch viele mehr
- Wohnort: Braak b. Eutin
Re: Suffolk iron Foundry Lawnmower engine
Moin, so klein die Racker aus sind, aber eine super Laufkultur. Hatte selbst auch zwei Stück davon einen vom Schiff mit Lenzpumpe. Unter Last klingen die noch viel besser.
Grüße aus dem Norden Motorenspezi
Grüße aus dem Norden Motorenspezi
Die Materie muß leben
- schmierlappe
- Beiträge: 173
- Registriert: Do 31. Mär 2016, 09:40
- Meine Motoren: Sendling DM5
Deutz MAH611
Deutz MAH514
ILO LE50
Hatz E785, E950
Mercedes OM636 im Unimog411
Deutz F3L912 im Schaeff Radlader SKL501
Deutz F1L411D mit Fimag Generator als Stromaggregat
Hatz ES75 im Gutbrod Einachsschlepper Trabant D
Zündapp M50, GTS50, KS80, KS100 - Wohnort: Weilburg
Re: Suffolk iron Foundry Lawnmower engine
Hallo, ja so einen hatte ich auch.
Wunderschön aber total nutzlos.
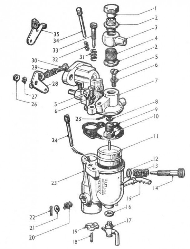
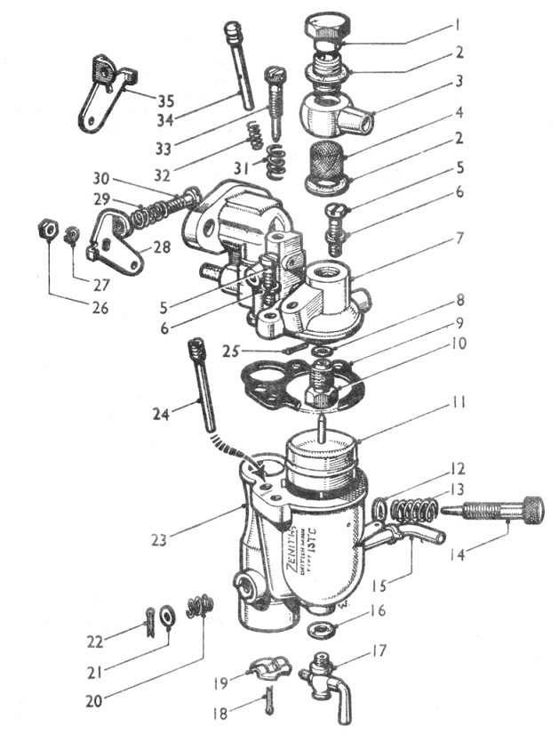
Entspricht dem B+S Modell 5S, Hat etwa 1 Ps bei 3000 Umdr., der Vergaser ist aber von Zenith.
Wunderschön aber total nutzlos.
Entspricht dem B+S Modell 5S, Hat etwa 1 Ps bei 3000 Umdr., der Vergaser ist aber von Zenith.
- deutz93
- Beiträge: 633
- Registriert: Fr 29. Mai 2015, 22:24
- Meine Motoren: changfa R 170 A
Bischoff Zwerg
Maier Mechanic Modell Gasmotor
Modell Stationärmotor Hans
2 Eigenbau Modelldampfmaschinen
Breuer 2 Zylinder Boxermotor
2 BUB Bootsmotoren
Jap js34 mit 12 Volt Generator
DKW EL 462
DKW EL 150
Tragbares Benzin-Elektro-Aggregat GAB 1,6
Farymann Typ LE
Ebbs und Radinger LBN 4
Leek Engine Gasmotor
Lister D
Sachs Stamo 4
Sachs D 400 L
Sachs D 500 W - Wohnort: Höhn
Re: Suffolk iron Foundry Lawnmower engine
Hallo
Ich habe heute neue Füße an den Motor gemacht. Mfg. Max
Ich habe heute neue Füße an den Motor gemacht. Mfg. Max
Altes kaputtes zeug ist viel besser als neues Funktionierendes.
http://www.youtube.com/channel/UCFZ00fHTjuyckUimS_fRkug
http://www.youtube.com/channel/UCFZ00fHTjuyckUimS_fRkug
- deutz93
- Beiträge: 633
- Registriert: Fr 29. Mai 2015, 22:24
- Meine Motoren: changfa R 170 A
Bischoff Zwerg
Maier Mechanic Modell Gasmotor
Modell Stationärmotor Hans
2 Eigenbau Modelldampfmaschinen
Breuer 2 Zylinder Boxermotor
2 BUB Bootsmotoren
Jap js34 mit 12 Volt Generator
DKW EL 462
DKW EL 150
Tragbares Benzin-Elektro-Aggregat GAB 1,6
Farymann Typ LE
Ebbs und Radinger LBN 4
Leek Engine Gasmotor
Lister D
Sachs Stamo 4
Sachs D 400 L
Sachs D 500 W - Wohnort: Höhn
Re: Suffolk iron Foundry Lawnmower engine
Danke für die vielen super Antworten.
Altes kaputtes zeug ist viel besser als neues Funktionierendes.
http://www.youtube.com/channel/UCFZ00fHTjuyckUimS_fRkug
http://www.youtube.com/channel/UCFZ00fHTjuyckUimS_fRkug